Jedná se o kotle na dřevo, které se svými parametry řadí k evropskému standartu dřevozplynujících kotlů. Kotle AM Energo se vyznačují především:
- prostornou zplynovací komorou s velkým plnícím otvorem
- vysokou účinností kotle (87% při jmenovitém výkonu, 89% při stáložárném provozu)
- dokonalým spalováním s velmi nízkým obsahem škodlivin - hodnota CO a OGC odpovídá třídě 5 dle ČSN-EN 303-5:2013 ( viz.graf spalin), parametry splňují požadavky EKODESIGNU
- speciální konstrukcí zplynovací komory omezující tvorbu dehtu
- extrémě dlouhou dobou hoření - při stáložárném provozu až 22 hod.
- možností automaticky řízeného provozu s programem na 24 hodin
Kotle na dřevo
Tento typ kotllů je určen především pro vytápění rodinných domků nebo bytů, jež mají vlastní kotelnu a též je vhodný pro vytápění menších podnikatelských provozoven.
Palivo
K topení kotle na dřevo používají suché dřevo do 20 % vlhkosti. Měkké i tvrdé, upravené na polena do max. délky 50 cm. V kombinaci s poleny lze spalovat různé dřevní odpady jako jsou štěpky, hobliny případně piliny.
Přednosti zplynovacích kotlů na dřevo
- maximální energetické zhodnocení palivového dřeva na základě vysoké účinnosti spalování
- minimální tvorba škodlivin a popela.
- nenáročná obsluha a snadné čištění - celkový komfort obsluhy.
- dřevo je obnovitelný zdroj energie a má zcela neutrální vliv na vznik skleníkového efektu v atmosféře neboť uvolňovaný kysličník uhličitý byl předtím vstřebán při nárůstu dřevní hnoty.
Princip spalování
Kotle na dřevo jsou konstruovány pro spalování na principu generátorového zplynování dřeva a následného spalování dřevoplynu za vysokých teplot.Hoření dřevoplynu je podporováno ventilátorem, dodávané množství vzduchu je plynule regulovatelné v požadovaném rozsahu výkonu kotle na dřevo. Vysoké teploty 900 – 1000° C je dosahováno přidáním sekundárního vzduchu do proudu hořícího plynu proudícího spalovací tryskou. Při tak vysoké teplotě shoří i hůře spalitelné složky paliva čímž je zajištěna vysoká účinnost spalování a nízký obsah škodlivin v kouřových plynech.
Technický popis
Těleso kotle na dřevo u řady AM Energo je vyrobeno z ocelového plechu o síle 6 mm, části na nichž je uložena keramika jsou vyrobeny z profilových trubek o síle 8 mm. Zplynovací komora je vyložena speciálními lamelami ze žáruvzdorného plechu, které se při hoření kotle na dřevo zahřívají na vyšší teplotu než zavodněný plášť kotle a tím omezují srážení dehtu na stěnách zplynovací komory.
Primární i sekundární vzduch vháněný radiálním ventilátorem je předehříván ve zdvojených částech pláště kotle a přiváděn v optimálním mísícím poměru do spalovací trysky. Masívní dohořívací keramická tvarovka udržuje vysokou teplotu pro dohoření dřevoplynu. Svislá trubkovnice doplněná brzdiči spalin zabezpečuje maximální předání energie a nízkou teplotu spalin na výstupu z kotle.
Kotle na dřevo jsou standartně vybaveny dochlazovací smyčkou pro ochranu kotle proti přetopení.
Regulace kotle na dřevo je řešena jako modulární systém s možností doplnění regulačních prvků na přání zákazníka.
V základním provedení regulace zajištuje řízení provozní teploty kotle pomocí provozního termostatu a dále je doplněna stop termostatem v případě nedostatku paliva. Panel regulace v základním provedení je dodáván s mechanickými termostaty a analogovým termomanometrem.
Na přání zákazníka je možno regulaci doplnit o:
- regulátor otáček ventilátoru pomocí něhož je možno regulovat maximální výkon kotle
- termostat oběhového čerpadla
- sdružený elektronický termostat s digitálním ukazatelem teploty kotle
- spínací hodiny pro řízení denního provozu chodu ventilátoru
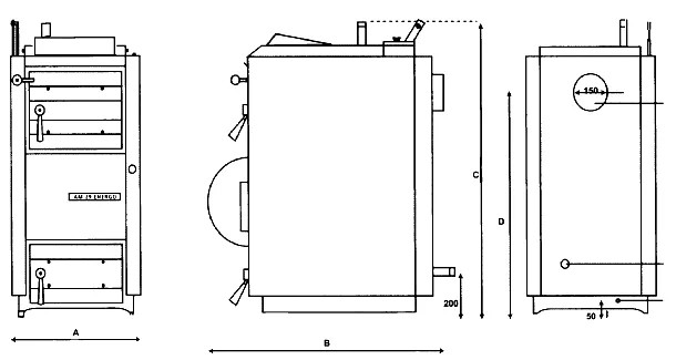
Technická data
| TYP KOTLE | AM 23 | AM 29 | AM 43 |
|---|---|---|---|
| Jmenovitý výkon (kW) | 23 | 29 | 43 |
| Maximální výkon (kW) | 25 | 33 | 49 |
| Výhřevná plocha (m2) | 1,9 | 2,2 | 3,5 |
| Objem palivové šachty (dm3) | 110 | 130 | 180 |
| Objem vody v kotli (dm3) | 78 | 88 | 105 |
| Maximální pracovní přetlak vody (MPa) | 0,25 | 0,25 | 0,25 |
| Provozní tah komína (Pa) | 20 | 25 | 30 |
| Průměr odtahového hrdla (mm) | 150 | 150 | 150 |
| A šířka kotle (mm) | 580 | 580 | 670 |
| B hloubka kotle (mm) | 990 | 990 | 1010 |
| C výška kotle (mm) | 1190 | 1280 | 1370 |
| D výška kouřovodu (mm) | 840 | 935 | 1025 |
| Rozměry plnícího otvoru (mm) | 360x290 | 360x290 | 360x290 |
| Hmotnost (kg) | 420 | 430 | 490 |
| Příkon ventilátoru W | 55 | 41 | 83 |
| Napětí (V/Hz) | 230/50 | 230/50 | 230/50 |
| Předepsané palivo | suché dřevo A1, maximální obsah vody 20% průměr polen 70-90mm, délka polen 500 mm | ||
| Účinnost (%) | 82-88 | 82-88 | 82-88 |
| Orientační spotřeba paliva za topnou sezónu (m3) | 18-20 | 23-27 | 40-45 |
Kotle na dřevo AM Energo
